语言版本: 中文 English

武芯烧录器支持德州仪器(TI) MSP430F261x、MSP430F241x芯片编程烧录

发布时间:2026-02-05 10:06:07

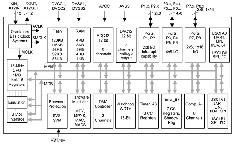
MSP430F261x、MSP430F241x作为MSP430™系列产品的成员,是德州仪器TI针对医疗成像应用16位微控制器。MSP430™系列作为主打超低功耗的MCU,涵盖多种器件型号,各型号通过差异化的外设组合来满足不同应用场景的独特需求。该系列架构集成五种低功耗运行模式,可实现在便携式测量应用中延长电池的使用寿命。其核心采用功能强大的16位RISC CPU配合16 位寄存器有助于实现最高编码效率的常数发生器在有限资源下实现高效运算。内部集成的数控振荡器 (DCO) 更拥有极速唤醒性能,能在不到 1µs 的时间内将系统从低功耗模式切换至运行模式,兼顾低功耗与实时响应。

 

具体到MSP430F261xMSP430F241x系列微控制器,它们均内置16位计时器、一个高速12位ADC、一个比较器、两个12位DAC、四个USCI(通用串行通信接口)模块、DMA控制器以及多达64个I/O引脚,为医疗成像设备中的信号采集、处理与通信提供了完整的硬件支持。除未执行DAC12和DMA模块之外,MSP430F261xMSP430F241x器件是完全一样的。此外,LQFP-64封装还可用做非磁性封装在对磁干扰敏感的环境中使用,其典型应用聚焦于医疗成像领域,能够在保证高性能的同时避免对精密成像设备产生磁干扰。

主要特性

低电源电压范围:1.8V 至 3.6V

超低功耗模式:

工作模式:频率为 1 MHz 且电压为 2.2V 时为 365 µA

待机模式 (VLO):0.5 µA

关断模式(RAM 保持):0.1 µA

1 µs 内从待机模式唤醒

16 位 RISC 架构,62.5 ns 指令周期

三通道内部 DMA(仅 MSP430F261x)

具有内部基准、采样保持和自动扫描功能的 12 位模数转换器 (ADC)

两个具有同步功能的 12 位数模转换器 (DAC)(仅 MSP430F261x)

具有三个捕捉/比较寄存器的 16 位定时器 Timer_A

具有七个捕捉/比较寄存器(包含影子寄存器)的 16 位定时器 Timer_B

片上比较器

四个通用串行通信接口 (USCI)USCI_A0 和 USCI_A1支持自动波特率检测功能的增强型 UART红外数据通讯 (IrDA) 编码器和解码器同步 SPI)、USCI_B0 和 USCI_B1

I2C同步串行外设接口 (SPI)

具有可编程电平检测功能的电源电压监控器和监测器

欠压检测器

引导加载程序 (BSL)

串行板载编程、无需外部编程电压、通过安全保险丝实现的可编程代码保护

系列成员包括:MSP430F241692KB + 256 字节闪存4KB RAM)、MSP430F2417

92KB + 256 字节闪存8KB RAM)、MSP430F2418116KB + 256 字节闪存8KB RAM)、

MSP430F2419120KB + 256 字节闪存4KB RAM)、MSP430F261692KB + 256 字节闪存4KB RAM)、MSP430F261792KB + 256 字节闪存8KB RAM)、MSP430F2618116KB + 256 字节闪存8KB RAM)、MSP430F2619120KB + 256 字节闪存4KB RAM

封装:采用 80 引脚四方扁平封装 (LQFP)、64 引脚 LQFP 和 113 引脚球栅阵列封装 (nFBGA)

 

msp430f261x功能框图.png

功能框图

武芯科技作为通用型芯片烧录器制造商,专注于IC烧录、测试领域。在持续优化更新烧录软件的同时,也在积极扩充和兼容各大厂商的芯片型号的烧录。ET9800烧录器支持一拖八烧录,同时提供联机、脱机等工作模式,可全方位满足德州仪器(TI)MSP430F261x、MSP430F241x系列芯片的裸片离线烧录与在板烧录的量产需求。

网页尺寸.png

ET9800是一款支持联机、脱机的量产型高速烧录器。采用高性能ARM+FPGA的硬件架构设计,编程带宽高达1.6Gb/s;内置128GB eMMC母头模块,能高效提升eMMC母片拷贝的量产效率;配备4.3英寸LCD触摸屏,优化脱机操作的交互体验;支持“一拖八”并行烧录,可实现复杂多样的烧录需求;且设备集成多种丰富接口,涵盖100/1000M以太网、SD卡、USB2.0 Device、RS-232串口、电源开关及接地端子等,灵活适配多元应用场景。同时提供上位机与下位机软件,支持自动化场景定制,适配智能化产线需求;支持各大厂商各种封装的MCU、eMMC、SPI、Nor/Nand flash、Parallel Nor/Nand flash、EEPROM及DSP等类型芯片,烧写稳定、高效。为客户提供创新的多场景芯片(IC)烧录解决方案。