语言版本: 中文 English

武芯烧录器支持德州仪器(TI) MSP430x23x, MSP430x24x(1), MSP430x2410 芯片编程烧录

发布时间:2026-02-05 10:27:38

德州仪器(TI)的 MSP430™ 系列是一款专为超低功耗应用而设计16位微控制器。包含多个器件型号,各型号通过搭配面向不同应用需求的外设组合,形成灵活多样的产品布局。该系列架构结合五种低功耗运行模式,经过特别优化,可在便携式测量应用中最大限度地延长电池使用寿命。其核心采用功能强大的16位RISC CPU,并配有16位寄存器与常数发生器,这些设计协同作用,可高效提升代码执行效率。芯片内置的数控振荡器(DCO)具备极速唤醒能力,能在不到1µs的时间内将系统从低功耗模式切换至运行模式,兼顾低功耗与实时响应。

 

MSP430F23x/24x(1)/2410系列中,各型号在核心配置上有诸多共同点:均内置两个16位定时器、一个快速12位模数转换器(A/D)(MSP430F24x1除外)、一个比较器、四个USCI模块(MSP430F23x为两个)以及高达48个I/O引脚。它们之间的差异主要体现在:MSP430F24x1与 MSP430F24x功能几乎完全相同,唯一的区别是前者未集成ADC12模块。MSP430F23x与 MSP430F24x相比,除了集成了一个精简版的Timer_B、一个USCI模块,以及较小的RAM容量之外,其余功能完全一致。凭借其低功耗、丰富外设与灵活配置,该系列的典型应用涵盖传感器系统、工业控制设备、手持式仪表等领域,是电池供电和空间受限嵌入式应用的理想选择。

 

主要特性

低电源电压范围:1.8V ~3.6V

超低功耗模式

激活模式:270μA(在 1MHz 频率和 2.2V 电压条件下)

待机模式 (VLO):0.3μA

关闭模式(RAM 保持):0.1μA

可在不到 1μs 的时间里超快速地从待机模式唤醒

16 位精简指令集 (RISC) 架构,62.5ns 指令周期时间

基本时钟模块配置:内部频率高达 16MHz内部极低功耗低频 (LF) 振荡器32kHz 晶振具有 4 个精度为 ±1% 校准频率且高达 16MHz 的内部频率谐振器外部数字时钟源外部电阻器

带内部基准、采样与保持以及自动扫描功能的 12 位模数 (A/D) 转换器

具有 3 个捕获/比较寄存器的 16 位 Timer_A

具有 7 个捕获/比较寄存器(带有影子寄存器)的 16 位 Timer_B

4 个通用串行通信接口 (USCI):USCI_A0 和 USCI_A1支持自动波特率检测的增强型通用异步接收发器 (UART)IrDA 编码器和解码器同步串行外设接口 (SPI)USCI_B0 和 USCI_B1I2C同步串行外设接口 (SPI)

片载比较器

具有可编程电平检测功能的电源电压监控器/监视器

欠压检测器

引导加载程序

串行板上编程、无需外部编程电压、由安全熔丝 实现的可编程代码保护

系列产品包括:

MSP430F2338KB+256B 闪存存储器,1KB RAM

MSP430F23516KB+256B 闪存存储器2KB RAM

MSP430F247,MSP430F2471 (1)32KB+256B 闪存存储器4KB RAM

MSP430F248,MSP430F248148KB+256B 闪存存储器4KB RAM

MSP430F249,MSP430F249160KB+256B 闪存存储器2KB RAM

MSP430F241056KB+256B 闪存存储器4KB RAM

封装采用 64 引脚四方扁平 (QFP) 和 64 引脚四方扁平无引线 (QFN) 封装

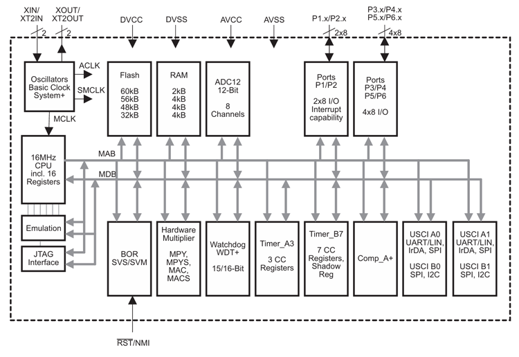
MSP430F2410框图.png

功能框图

武芯科技作为通用型芯片烧录器制造商,专注于IC烧录、测试领域。在持续优化更新烧录软件的同时,也在积极扩充和兼容各大厂商的芯片型号的烧录。ET9800烧录器支持一拖八烧录,同时提供联机、脱机等工作模式,可全方位满足德州仪器(TI)MSP430x23x, MSP430x24x(1), MSP430x2410系列芯片的裸片离线烧录与在板烧录的量产需求。

网页尺寸.png

ET9800是一款支持联机、脱机的量产型高速烧录器。采用高性能ARM+FPGA的硬件架构设计,编程带宽高达1.6Gb/s;内置128GB eMMC母头模块,能高效提升eMMC母片拷贝的量产效率;配备4.3英寸LCD触摸屏,优化脱机操作的交互体验;支持“一拖八”并行烧录,可实现复杂多样的烧录需求;且设备集成多种丰富接口,涵盖100/1000M以太网、SD卡、USB2.0 Device、RS-232串口、电源开关及接地端子等,灵活适配多元应用场景。同时提供上位机与下位机软件,支持自动化场景定制,适配智能化产线需求;支持各大厂商各种封装的MCU、eMMC、SPI、Nor/Nand flash、Parallel Nor/Nand flash、EEPROM及DSP等类型芯片,烧写稳定、高效。为客户提供创新的多场景芯片(IC)烧录解决方案。