武芯烧录器支持NXP ARM微控制器 LPC11Cxx 系列芯片编程烧录
发布时间:2026-03-11 16:33:31
LPC11Cxx MCU 系列是恩智浦(NXP)基于 ARM Cortex®-M0 内核开发的低成本32 位微控制器产品,最高工作频率可达50 MHz。该系列在继承传统8/16 位微控制器应用优势的基础上,通过优化架构显著减小了代码体积,同时在运行性能、低功耗特性、简洁的双字节指令集以及内存寻址能力等方面也表现突出,能够高效满足对成本与性能均有要求的应用场景。
在存储配置上,LPC11Cxx 系列提供16 KB或32 KB的闪存存储器,并配备最高8 KB的数据存储器(RAM),为程序运行与数据存储提供可靠保障。外设方面,该系列集成包括一个C_CAN 控制器、一个快速模式Plus I²C 总线接口、一个RS-485/EIA-485 UART、两个带SSP 功能的 SPI 接口、四个通用计数器/定时器、一个10 位 ADC、最多40 个通用 I/O 引脚等。此外,LPC11Cxx 还提供片上 C_CAN 驱动以及通过 C_CAN 接口进行闪存系统编程的工具,方便用户实现 CAN 总线通信与远程固件更新,进一步提升了系统的可维护性与功能扩展性。
凭借Cortex®-M0 内核的高效运算、低代码体积、丰富外设及 CAN 总线支持,LPC11Cxx 系列非常适合工业控制、汽车电子、通信模块以及各类需要高性价比32 位微控制器的嵌入式应用。
主要特性
系统:
搭载Arm Cortex®-M0处理器,最高运行频率可达 50 MHz
内置嵌套向量中断控制器(NVIC)
支持串行线调试(SWD)
集成系统节拍定时器(SysTick)
存储器:
最高32 KB 片内闪存编程存储器
8 KB SRAM
通过片内引导加载程序软件支持在系统编程(ISP) 与 在应用编程(IAP)
闪存ISP 命令可通过 UART 或 C_CAN 接口发送
数字外设:
最多40 个通用输入输出(GPIO)引脚,支持可配置的上拉/下拉电阻
GPIO 引脚可用作边沿触发和电平触发中断源
单个引脚提供20 mA 高电流输出驱动能力
两个I²C 总线引脚在 Fast-mode Plus 模式下支持 20 mA 高电流灌电流驱动
四个通用计数器/定时器,总计 4 路捕获输入与最多 13 路匹配输出
可编程窗口看门狗定时器(WDT)
模拟外设:10 位 ADC,支持 8 个引脚的输入复用
串行接口:
UART:支持分数波特率生成、内部 FIFO,以及 RS-485通信
两个SPI 控制器:具备 SSP 功能、FIFO 缓冲及多协议通信能力
I²C 总线接口:完全兼容 I²C 总线规范,支持 Fast-mode Plus,数据传输速率可达 1 Mbit/s,具备多地址识别与监听模式
C_CAN 控制器:集成片上 C_CAN与CANopen驱动
片上高速CAN 收发器(仅限 LPC11C22/C24型号)
三种低功耗模式:睡眠、深度睡眠、深度掉电
时钟生成:
2 MHz 内部 RC 振荡器,精度校准至 ±1%,可选作系统时钟源
晶体振荡器,工作频率范围为1 MHz 至 25 MHz
可编程看门狗振荡器,频率范围为7.8 kHz 至 1.8 MHz
PLL锁相环:无需高频晶体即可将 CPU 运行至最高频率,可从系统振荡器或内部 RC 振荡器获取时钟
时钟输出功能:带分频器,可输出反映系统振荡器时钟、IRC、CPU 时钟及看门狗时钟的信号
上电复位(POR)
欠压检测(Brownout Detect):支持多达四个独立阈值,可触发中断或强制复位
唯一的器件序列号,便于识别与管理
单电源供电:3.3 V(工作电压范围 1.8 V 至 3.6 V)
提供48 引脚 LQFP 封装

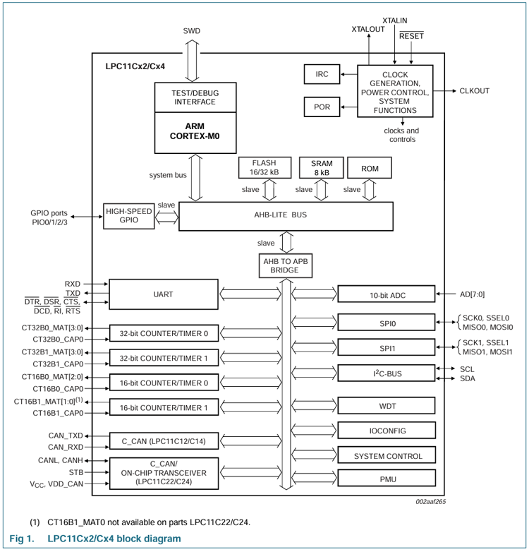
功能框图
武芯科技作为通用型芯片烧录器制造商,专注于IC烧录、测试领域。在持续优化更新烧录软件的同时,也在积极扩充和兼容各大厂商的芯片型号的烧录。ET9800烧录器支持一拖八烧录,同时提供联机、脱机等工作模式,可全方位满足NXP(恩智浦)LPC11Cxx 系列芯片的裸片离线烧录与在板烧录的量产需求。

ET9800是一款支持联机、脱机的量产型高速烧录器。采用高性能ARM+FPGA的硬件架构设计,编程带宽高达1.6Gb/s;内置128GB eMMC母头模块,能高效提升eMMC母片拷贝的量产效率;配备4.3英寸LCD触摸屏,优化脱机操作的交互体验;支持“一拖八”并行烧录,可实现复杂多样的烧录需求;且设备集成多种丰富接口,涵盖100/1000M以太网、SD卡、USB2.0 Device、RS-232串口、电源开关及接地端子等,灵活适配多元应用场景。同时提供上位机与下位机软件,支持自动化场景定制,适配智能化产线需求;支持各大厂商各种封装的MCU、eMMC、SPI、Nor/Nand flash、Parallel Nor/Nand flash、EEPROM及DSP等类型芯片,烧写稳定、高效。为客户提供创新的多场景芯片(IC)烧录解决方案。