语言版本: 中文 English

武芯烧录器支持NXP ARM微控制器LPC2131/32/34/36/38系列芯片编程烧录

发布时间:2026-03-23 16:08:05

LPC2131/32/34/36/38系列是NXP(恩智浦)推出的一款基于 ARM7TDMI-S™ 内核的 16/32 位微控制器,具备实时仿真(Real-Time Emulation)和嵌入式跟踪(Embedded Trace)支持。在存储资源方面,该系列提供从 32 KB 到 512 KB 不等的嵌入式高速 Flash 程序存储器,可灵活匹配不同规模的应用需求。通过 128 位宽的内存接口和独特的加速器架构,系统能够以最大时钟速率流畅执行 32 位代码。针对代码体积敏感型应用,该系列还支持 16 位 Thumb 指令模式,在性能损失极小的前提下,可将代码量缩减30% 以上,从而提高Flash 利用率并降低成本。

在通信与缓冲能力方面,该系列提供丰富的串行接口,并可选配8 KB、16 KB 或 32 KB 的片上 SRAM,为大容量数据缓存提供足够的存储空间。这使得LPC2131/32/34/36/38系列在工业通信网关、协议转换器、软调制解调器、语音识别以及低端成像设备等场景中表现出色,既能支持较大的数据缓冲区,又具备较高的处理吞吐能力。得益于其紧凑的封装尺寸与低功耗特性LPC213x 系列非常适合对体积和功耗有严格限制的微型化应用,例如门禁控制系统、销售点(POS)终端等便携或嵌入式设备。

在控制与模拟外设方面,配备了多种功能模块,包括多个32 位定时器、单通道或双通道 10 位、8 通道模数转换器(ADC)、一个 10 位数模转换器(DAC)、多路 PWM 输出通道和最多 47 个通用 I/O 引脚等,其中最多 9 个可配置为边沿或电平敏感型外部中断引脚,满足多路外部事件触发需求。凭借上述丰富的外设资源与灵活的配置能力,LPC213x 系列也非常适合工业控制系统、医疗电子设备等对环境适应性、实时性和外设扩展性有较高要求的应用场景。

主要特性:

LPC213x设备带来的增强功能快速GPIO 端口使端口引脚切换速度比原始 LPC213x 快约 3.5 倍ADC 的专用结果寄存器减少了中断开销、额外的BOD 控制可进一步降低功耗

CPU:16/32 位 ARM7TDMI-S 微控制器

封装:采用小型 LQFP64 或 HVQFN64 封装 n 

存储器:8/16/32 kB 的片上静态 RAM 以及 32/64/128/256/512 kB 的片上闪存程序存储器 

模拟器:一颗(LPC2131/32)或两颗(LPC2134/36/38)8通道10位ADC提供总共最多16个模拟输入单个10位DAC提供可变模拟输出(LPC2132/34/36/38)
定时器:两个32位定时器/外部事件计数器(每个带有四个捕获通道和四个比较通道)、PWM单元(六个输出)和看门狗
时钟:低功耗实时时钟,具有独立电源和专用32 kHz时钟输入
串行接口:包括两个UART(16C550)、两个快速I²C总线(400 kbit/s)、带缓冲和可变数据长度功能的SPI和SSP节能模式包括空闲和掉电模式外设功能的单独启用/禁用以及外设时钟的降低,以实现额外的功耗优化通过外部中断或BOD,处理器可从掉电模式唤醒单电源芯片,带有POR和BOD电路
工作电压3.0 V至3.6 V(3.3 V ± 10%)


LPC213x系列.png

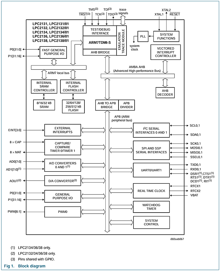
功能框图

武芯科技作为通用型芯片烧录器制造商,专注于IC烧录、测试领域。在持续优化更新烧录软件的同时,也在积极扩充和兼容各大厂商的芯片型号的烧录。ET9800烧录器支持一拖八烧录,同时提供联机、脱机等工作模式,可全方位满足NXP(恩智浦)LPC213x系列LPC2131FBD64LPC2136FBD64LPC2134FBD64、LPC2138FBD64等芯片的裸片离线烧录与在板烧录的量产需求。

网页尺寸.png


ET9800是一款支持联机、脱机的量产型高速烧录器。采用高性能ARM+FPGA的硬件架构设计,编程带宽高达1.6Gb/s;内置128GB eMMC母头模块,能高效提升eMMC母片拷贝的量产效率;配备4.3英寸LCD触摸屏,优化脱机操作的交互体验;支持“一拖八”并行烧录,可实现复杂多样的烧录需求;且设备集成多种丰富接口,涵盖100/1000M以太网、SD卡、USB2.0 Device、RS-232串口、电源开关及接地端子等,灵活适配多元应用场景。同时提供上位机与下位机软件,支持自动化场景定制,适配智能化产线需求;支持各大厂商各种封装的MCU、eMMC、SPI、Nor/Nand flash、Parallel Nor/Nand flash、EEPROM及DSP等类型芯片,烧写稳定、高效。为客户提供创新的多场景芯片(IC)烧录解决方案。